To Close This Window Click Here

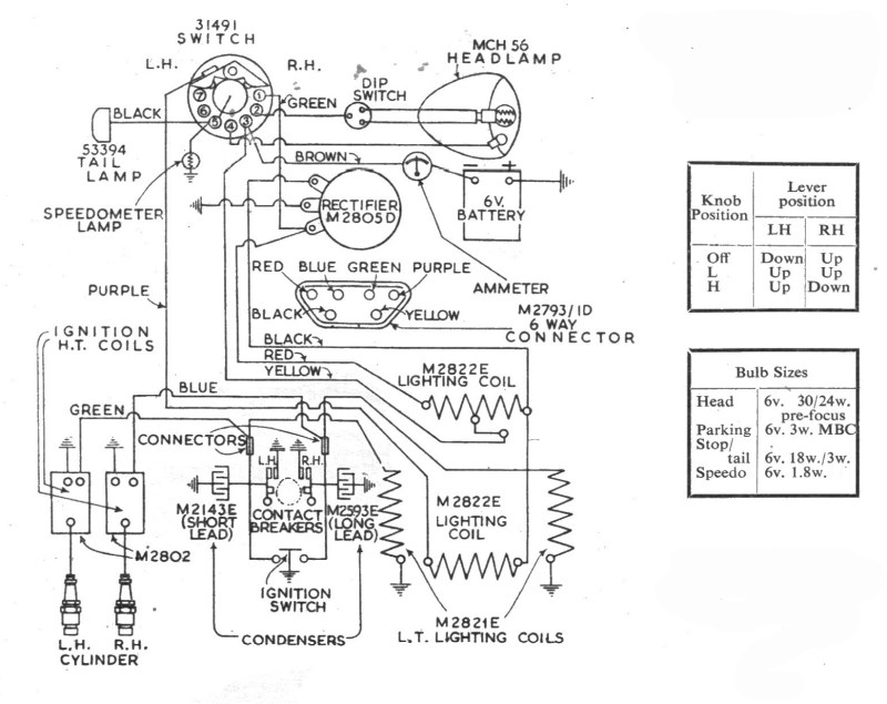
02T Wiring Diagram